GW系列中频无芯感应熔炼炉使用说明

发布时间:2022-08-25浏览量:765

一、中频电炉基础要求及安装注意事项

01、感应炉的安装地基必须符合安装尺寸要求,安装中保持炉面水平位置。

02、水路安装必须牢靠正确,水冷电缆与水路用的钢管距离应大于50cm。

03、炉体安装完毕,须做倾炉试验,将炉体倾斜0度至95度,要求动作平稳,转动灵活,停炉准确。

04、电源柜、炉体、外壳、有安全接地和保护接地。柜内三相进线及零线必须连接牢固。

05、有备用水源(水塔或不间断自来水)或备用电源停电时做应急使用,冷却炉体备用水源水流大于等于5T/h,回水采用钢制水管或地沟。

06、有备用水泵,以防主泵损坏。备用泵、主泵、电源柜、炉子、水电缆、电容器各支路主水路之间有阀门控制,以便各种情况下调节使用。

07、冷却塔、炉体、电源柜、电容柜的放置房间,有通风排气、照明、下水设施。

08、电缆沟必须盖木质或水泥盖板。冷却塔、炉体、电源柜、电容柜附近必须明亮和行动方便。

09、电源柜的操作室与炉前之前的墙上有观察窗。

 

 

二、中频电炉操作人员安全注意事项

01、炉前操作人员必须具备一定的电器知识,并培训合格后上岗。严格按照操作规程工作;带电部分必须设置警示标志。设备管理人员班前对职工进行安全教育;对设备安全必须定期检查。

02、工作人员必须戴绝缘鞋、绝缘手套、护目镜及安全帽等劳保用具。,并站在干燥的绝缘木板上操作(绝缘木板厚度20毫米以上耐压大于10000伏以上)。电源柜前铺3cm厚干燥木板。

03、非炉上操作人员严禁上炉台操作及进入电气室内逗留。

04、必须保证炉台、安全坑、炉下这些部位清洁干燥,炉子周围无不得堆放杂物,防止发生短路。

05、严禁用不合格的耐火炉料,打结炉衬。

06、加料操作时,冷湿炉料应先烘干,不能直接丢入溶液内,易燃、易爆、密封件严禁下炉,以免引起炉子爆炸和溶液的喷射。

07、工作时,人体严禁直接接触炉壳、炉盖板操作。

08、工作中应用专职电工埴班,每10炉一次用测电笔,测试金属炉料、炉壳,均不能带电。

09、(1)、工作中如发现炉内金属材料对炉盖板有打火拉弧现象。应立即停炉,(此时,炉衬已漏电,强电压进入炉内,将会危及人身安全)。

      (2)、如发现炉内接地线开路、或烧断。接上后又烧断时,应立即停炉(炉衬已带强电压,不能再用)。

      3)、开炉期间要经常观察炉内情况,防止发生钢水冻结密封、过热情况,炉体上部炉料冻结密封时间不能太长,以免引起炉子爆炸事故。发现冻结密封现象时,应及时把炉子倾倒至一定角度,使冻结部分炉料熔化。电炉如有冻结密封现象在10分钟内不解开时应立即停炉。

10、检修前要将空气开关断开,检修电容柜时,必须对电容器进行放电处理。

 

  

三、中频电炉操作流程

作业前必须熟读我公司提供的电炉安全操作规范,一切操作要遵循安全操作规范,确保机器已经正确安装,并已调试完毕。确保不要让人随意接触控制板。

1、开炉前的准备

1) 检查各个部分紧固件是否有松动现象;

2) 检查柜内主电源绝缘是否良好;

3) 检查各水路之水压、流量、水温是否正常;

4) 检查“中心控制板”上工作指示是否正常;

5) 检查触发脉冲(整流、逆变)指示灯是否正常;

6) 检查炉体之感应线圈、电容器对地绝缘是否正常;

7) 检查水冷电缆是否接触可靠;

8) 检查各进线电压是否正常

以上各项均正常情况下方能启动中频电源。

 

2、中频电源操作

2.1.启动操作

(1) 启动水泵给冷却系统供水;

(2) 合上柜内控制回路断路器Q1,给二次回路供电(若是多脉中频电炉则将各个控制回路的断路器依次合上即可);

(3) 按“控制电源合”按钮,控制电源得电; 

(4) 按“主电源合”按钮,主电路得电;

(5) 右旋“复位”按扭,为中频电源启动作好准备;

(6) 缓缓调节“功率调节”电位器PR并注意观察频率表,若有指示并能听到中频叫声,说明启动成功,启动成功后将电位器PR一次旋到底,同时主控板上的“启动P.P”灯灭,“电压环V.LOP”灯亮。若启动不成功,需重新启动;

2.2.停止操作

(1) 将功率调节电位器PR逆时针旋转到底,所有指示仪表归零。

(2) 按“主闸分”按扭,主电路断电;

(3) 按“控制电源分”按扭,控制电源断电;

(4) 断开柜控制回路断路器Q1(若是多脉中频电炉则将各个控制回路的断路器依次断开即可);

 

 

3、其它说明

1)当发生故障停机后,“中心控制板”能保持记忆,只有等排除故障按中频“复位”按扭后,电源才能重新启动;

6)发生故障或紧急情况时,应按停止电源程序将电源停止,待排除故障后方能重新启动电源;

7)水泵停止时间应根据感应器中的水温来决定,一般应在电源停止后240分钟左右停止供水,电源的冷却水可以即停;

 


四、中频电炉日常使用、维护规程

01、严格按照规程操作设备,严禁在负载开路情况下开启设备,水冷电缆不能开路,否则将损坏元器件。应将水冷电缆连接螺栓拧紧,并检查铜排是否有异物存在。

02、冷炉满载情况下(带坩埚启动或因停电引起的整炉钢水凝固后的启动)需低功率运行(全功率的30%左右)待钢铁熔化为全容量的30%,后逐渐升满功率直至整炉熔化。过程中,间隔一定时间不断小角度来回翻动炉体。

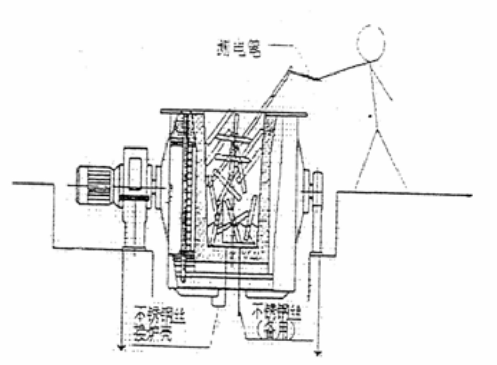
03、熔料应接地,确保人身安全,具体方法如下图:

图片0825.jpg 

说明:1)、加料过程中,用测电笔如图测量炉内是否带电,如带电,严禁运行工作。

         2)、炉壳应可靠接地。

         3)、炉底插入两束多根2mm的不锈钢丝引出,一根接一边外壳,一根备用。

04、炉衬烧结后注意事项:

(1)、烧结后,前3-5炉熔化,宜用额定电压60%-70%操作(主要是为了保护线圈绝缘);停炉5天以上时,再开炉时要用1/10的功率通电20分钟以上。

(2)、铁屑在第一炉时最好禁用,另外严禁添加密封管状料及潮湿料。

05、炉衬使用寿命是与连续熔炼还是间断熔炼有关,一般来说连续熔炼炉寿命长,而间断熔炼寿命0短。因此在停炉前应采用放置炉块于炉内,可达到缓慢降温,延长炉子寿命的目的。要经常检查炉衬情况。

07、进水温度取5-35℃(低于5℃的水不宜用,以防冻裂管路)。注:冷却系统的进水水温应高于露点,以防湿气凝结在感应器上,造成感应器绝缘击穿,产生匝间短路。中频电源出水温度一般低于45℃,感应器出水温度低于55℃

08、冷却水流速应保持1-1.5米/秒。注:水流应是紊流

09、冷却水进水压力取变频装置进水压力0.2MPa-0.3MPa,炉体进水压力0.3MPa-0.35MPa

注:炉子运行过程中停水时间超过20分钟,感应器绝缘便可能烧坏。所以,除了应昼夜值班监视水冷系统的工作之外,还应设置应急水箱以便在停电时继续向炉子供水。停炉后,要减小水流量,继续通水4小时以上,保证炉衬冷却到所允许的温度〈100℃

10、在停电时需尽快提供水源,否则会在线圈管内产生蒸气导致爆炸。将应急水源启动,此时通水量控制在熔炼时水量1/3。

11、感应器线圈及冷却水管道外表面应定期使用压缩空气吹净。

12、夏季使用,若冷却水温度偏低造成柜内元件外表出现冷凝滴时,应提高冷却水进水温度,以免冷凝进入系统造成绝缘降低,引起系统损坏。经常检查柜内增强管内是否有沉淀物。

13、若在冬季长时间停炉,冷却塔处理方法:1、用压缩空气将各通水管内的水吹干,以防冻裂管道及电气元件;2、亦可保持水路循环不间断(即水泵一直工作);3、或者可以往冷却水里注入防冻液,保证冷却水在低温下不会结冰。

14、配电工要经常观察设备运转情况,认真作好配电记录,有问题立刻停电找电工修理。不得带电换载,不得带负荷拉闸,不得带负荷倾动炉体。

15、定时与不定时地检查出水箱工作状况,无阻塞,无泄漏,水温正常。若有异常情况,则停止送电,进行检查。

16、要留意在工作中所发生的各种现象和定时做名仪表的读数记录,功率旋钮不在零位不得按复位按钮。

17、运行中要经常检查炉体磁轭,观察是否有发红的现象,如有,则应立即停炉检查对应部位的水路。运行中如发现炉体支架、感应线圈、磁轭、电源内部、水电缆接头及电容柜有打火现象时应立即停炉并报告有关领导。

18、定期检查倾炉装置和水冷开关,并经常加入润滑油。定期检查接地线连接情况,接地线必须连接牢固。

19、要定期对电源柜内的所有螺丝、炉体结构件紧固螺栓及感应器线圈固定螺栓进行紧固。

20、下班停炉后,对设备进行一次全面检查,注意各部分的发热情况,关键部分逆变可控硅的阻容吸收回咱原器件等,是否有烧断接触不良等现象,有问题及时解决。交接班需搞好场地卫生下班前应用脱水的压缩空气仔细吹干净炉体和电柜的灰尘,对各种不安全因素和设备故障必须作好交接记录。

21 、发生下列情况要紧急停炉并报告专业人员:

1).炉衬发生严重脱落和孔穴。

2).中频电压下降,交流电流急剧上升。

3).水温普遍急剧上升。

4).漏电报警器报警并复位几次都不能消除。

22、拆炉时,扒炉时应注意安全,防止倒塌砸伤,必须有人监护,同时注意不要损坏线圈。。

23、在起炉倒金属溶液期间,停机出炉。且炉子周围不得堆放杂物。杂物掉落,沾到感应线圈上,发生短路。

24、拆炉衬时,应注意不要破坏线圈胶泥,如果有破损和烧苏裂纹,应打掉破损部位,重新涂好,自然凝固烤干后再筑炉衬。

拨打电话